天井鉆機鉆桿螺紋
- 發布時間:2022-08-05
- 發布者: 小編
- 來源: 本站
- 閱讀量:756
天井鉆機鉆桿連接螺紋通常為錐螺紋,目前國內常用的鉆桿錐螺紋標準有兩種:即1寸4牙錐螺紋(簡稱細牙螺紋)和1寸2牙錐螺紋(簡稱組牙螺紋)。
一、細牙螺紋
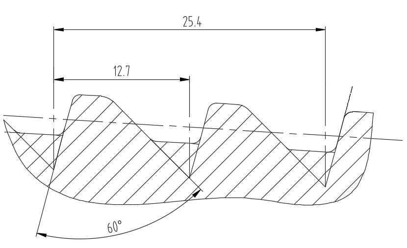
1寸4牙細牙螺紋如圖1所示,螺紋錐度1:6,螺旋升角小,螺紋間距短,牙型細,螺紋承受的扭矩小。

細牙螺紋
二、粗牙螺紋
1寸2牙粗牙螺紋如圖2所示,螺紋錐度1:8,螺旋升角大,牙型粗,牙頂與牙底過渡平緩,螺紋承受的扭矩大。

粗牙螺紋

天井鉆機鉆桿連接螺紋通常為錐螺紋,目前國內常用的鉆桿錐螺紋標準有兩種:即1寸4牙錐螺紋(簡稱細牙螺紋)和1寸2牙錐螺紋(簡稱組牙螺紋)。
一、細牙螺紋
1寸4牙細牙螺紋如圖1所示,螺紋錐度1:6,螺旋升角小,螺紋間距短,牙型細,螺紋承受的扭矩小。

細牙螺紋
二、粗牙螺紋
1寸2牙粗牙螺紋如圖2所示,螺紋錐度1:8,螺旋升角大,牙型粗,牙頂與牙底過渡平緩,螺紋承受的扭矩大。

粗牙螺紋
上一篇:天井鉆機的施工輔助工具
下一篇:天井施工與礦山安全